You are here:
- Orendi shtëpiake (Mobilie) (1450)
- Burgia të ndryshme (25)
- Aksesorë shtesë (Orendi shtëpiake) (67)
- Bita për bulona (6)
- Bulona (333)
- Bashkues mobiliesh (125)
- Tiplla (20)
- Kuzhina (157)
- Doreza të orendive (169)
- Garderobë (57)
- Bagllama të orendive (140)
- Mekanizëm rrëshqitëse për dollap (77)
- Sirtar (90)
- Zyre (26)
- Këmbë orendish (31)
- Mbajtës rafti (43)
- Rrota (28)
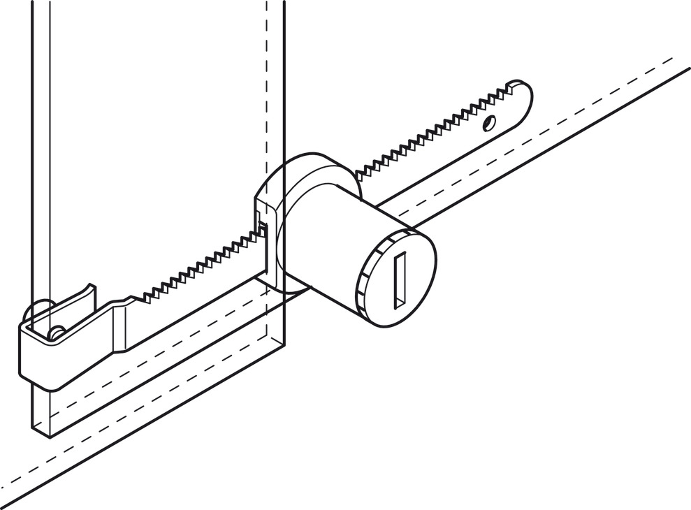
- Cilindra dhe brava të orendive (46)
- Dyer (358)
- Hoteleri (38)
- Mekanizma special (19)
- Ndriqim (152)
- Sanitari (72)
- ZBRITJE !! (6)
Brava për xham
Showing 1–12 of 17 results



















